
名稱:山(shan)東欣鼎橡胶制造有限责任公司
地址(zhi):山東省(sheng)臨沂市(shi)💕在线永久看片免费的视频👯🏾♂️費縣探(tan)沂鎮
經(jing)濟開發(fa)區縱二(er)路西側(ce)
電話:
手(shou)機: /
傳真(zhen):
郵編:276000
郵(you)箱:[email protected]
網址(zhi):http://www.lysx.cc
當前位(wei)置:主頁(ye) > 産品中(zhong)心 > 止回(hui)閥系列(lie) >

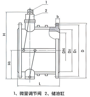
三、微(wei)阻緩閉(bi)消聲止(zhi)回閥【主(zhu)要零件(jian)材料】零(ling)件名稱(cheng) | 閥體 | 閥(fa)瓣 | 閥杆(gan)、油 | 彈 簧(huang) | 閥 座 |
材(cai) 料 | 鑄鐵(tie)、鑄鋼 | 碳(tan)鋼 | 不鏽(xiu)鋼 | 不鏽(xiu)鋼 | 丁腈(jing)橡膠 |
型号 | 公(gong)稱 | 強度試(shi)驗壓力(li) | 密封 | 适用(yong) | 适(shi)用 | 緩閉 |
HH46X | 1.0 | 1.5 | 1.1 | ≤80 | 清水(shui) | ≤60秒 |
1.6 | 2.4 | 1.76 | ||||
2.5 | 3.75 | 2.75 |
公稱(cheng)壓力 | 公(gong)稱通徑(jing) | 尺 寸fmm) | ||
L | H | H1 | ||
1.0 | 40 | 140 | 200 | 88 |
50 | 150 | 215 | 98 | |
65 | 170 | 225 | 108 | |
80 | 180 | 235 | 118 | |
100 | 190 | 280 | 130 | |
125 | 200 | 290 | 148 | |
150 | 210 | 310 | 172 | |
200 | 230 | 350 | 210 | |
250 | 250 | 415 | 240 | |
300 | 270 | 450 | 264 | |
公(gong)稱壓力(li) | 公稱通(tong)徑 | 尺 寸(cun)(mm) | ||
L | H | H1 | ||
1.0 | 350 | 290 | 480 | 297 |
400 | 310 | 550 | 324 | |
450 | 330 | 585 | 351 | |
500 | 350 | 640 | 379 | |
600 | 390 | 720 | 434 | |
700 | 430 | 780 | 491 | |
800 | 470 | 840 | 549 | |
900 | 510 | 990 | 600 | |
1000 | 550 | 1050 | 655 | |
1200 | 630 | 1210 | 770 | |
上一篇(pian):橡膠瓣(ban)止回閥(fa)
下一篇(pian):升降式(shi)襯氟止(zhi)回閥
•
••